Cellulosic Fibres | Chemical Technology - Chemical Engineering PDF Download

Cellulosic Fibres

(Viscose Rayon and Acetate Rayon, Cuprammonium Rayon)

Rayon is derived from French word “rays of light” and was first sold as artificial silk. Rayon is made from cellulose derived from naturally occurring material. The first manufactured cellulosic fibre was invented in France in 1884, however first commercial production was in 1910 by Avtex fibre Inc. in USA

Some of the common rayon are viscose rayon, acetate rayon, cup ammonium rayon. Other rayons  are cuprammonium rayon, pyroxylin rayon. some of the natural material based  are casein fibre, alginate fibre, vicara, soyabin. fibre Amongst the various rayon viscose rayon is most commonly commercially manufactured   rayon and find wide application in textile, tire cord industry. Various types of viscose rayon are regular rayon, High tenacity rayon, high wet modulus (HWM) rayon, Flame retardant rayon, Super adsorbent rayon. Some of the major rayon producing units in India are given in Table M-VIII 8.1. Global demand of viscose fibre is 3,20,000 tonnes per annum. 

Table M-VIII 8.1: Indian capacity of Viscose Rayon

 

Name of the unit

Capacity, Tonnes

Century rayon

53,000

Kesoram rayon

17000

Indian rayon

7000

National rayon

13000

Baroda rayon

4500

Domestic demand

54000

Properties of Viscose Rayon
 
Viscose rayon has a silk aesthetic with superb drape and feel and retains its rich brilliant colour. It has high moisture absorbency similar to cotton, breathable, comfortable to wear and easily died. It is comfortable, soft to skin and has moderate dry strength and low abrasion resistance, no static buildup, moderate resistance to acid and alkali, excessive flammable. Thermal properties poor and losses strength above 149 oC, chars and decomposes at 177 to 244 oC. Tenacity ranges between 2.0 to 2.6 g/den when dry and 1.0 to 1.5g/den when wet. It has poor crease recovery and crease retention in comparison to polyster. Because of low melting point lower application in tire cord. Application of vicose rayon is given in Table M-VIII 8.2.
 
Various Grades: Flat yarn, high tenacity, mono-filament, fibres, tow/tops, spun yarns
 
Types of Rayon: Regular rayon, high wet modulus rayon, high tenacity Rayon, Microfibres, tencel rayon, lyocel, Special rayon flame retardant fibres,superabsorbent rayons, microdenier rayon finres

Table M-VIII 8.2: Application of Viscose Rayon  

 

Yarn

Embroidery, chenille, cord, novelty yarns

Fabric

Crepe, garardine, suiting, lace, outwear fabrics and lining of coats and outwear

Apparel

Dresses, blouses, saris, jackets, lingerie, linings,

millinery(hats), slacks, sport shirts, sports-wear, suit, ties, work cloth

Domestic textiles

Bead spreads, Bed sheets, blankets, curtain, draperies, slip covers, table cloths, up hosiery

Industrial textiles

High tenacity rayon is used as reinforcement to mechanical rubber goods(tires, conveyor belts, hoses) applications within aerospace, agricultural textile industries, braided cord, tapes

MiscellaneousSausage casing, cellophane, feminine hygiene

 Raw Material  

Cellulose, NaOH, Carbon disulfide, Sulfuric acid, Titanium dioxide to delustre the yarn, sodium sulfide, sodium sulfite, sodium hypochlorite additives. Cellulose is obtained from rayon grade pulp or cotton linter.

Rayon grade Pulp: Rayon grade  (also called dissolving pulp) is high cellulose content pulp. wood pulp is major source of rayon grade pulp. During production of rayon grade pulp more drastic condition is used to obtain high quality dissolving pulp. During selection of raw materials process conditions in pulping and bleaching, pulping and bleaching chemicals and further processing of pulp special precaution is taken. 

Raw Material for per Tonne of rayon fibres

Pulp   1030 kg  

NaOH   650 kg  

H2SO4   960 kg

CS2   330 kg  

Zinc sulphate  30 kg

Bleach Chemical 50 kg

Coal   6250 kg

Water   600 m3  

Power   2000 kg

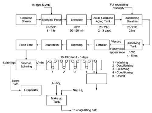
Process Steps: Details of manufacturing process of viscose rayon is given in Table M-VIII 8.3. Figure M-VIII 8.1 show the process manufacture of Viscose rayon. Various steps involved in manufacture of viscose rayon are:

Table M-VIII 8.3: Process Details of Viscose Rayon Manufacturing  

 

Production         of

cellulose

Cellulose used in the manufacture of viscose rayon is alpha cellulose. Cellulose is obtained from pulping of wood/bamboo where special care is taken in pulping and bleaching so that the pulp is of higher strength with high cellulose content

Steeping

This involves pulp sheets are placed in steeping compartment and reacted with18-20% NaOH at 20-22oC for about 1-4 hr. Purpose of steeping is

  • To break intermolecular bonds of the cellulose to increase solubility of cellulose xanthate
  • To convert cellulose into alkali cellulose
  • To swell cellulose fibre
  • To dissolve low molecular weight hemi-cellulose

Pressing

This is done to remove excess liquid.

Shredding       and

white crumb

The alkali cellulose obtained after pressing are fed to shredder at about 28oC for 90-120min.This involves shredding of pressing sheet to produce white crumb which is fluffy which allow air to penetrate effectively.

Aging

After shredding the white crumb are aged to bring down degree of

 

polymerization. This involves aging of crumb through exposure of white crumb to oxygen. It helps in maintaining proper viscosity.

Xanthation

After ageing, the soda cellulose crumbs are fed into a air tight rotating

churns The process involves treatment of white crumb with carbon disulphide under controlled condition at 20-30oC to form a cellulose xanthate. This is called yellow crumb. The yellow crumb is dissolved in caustic solution to form viscose.

Ripening, filtering and de-aeration

The process involves ripening of viscose by keeping for 4-5 days at 10-

18oC which varies according to type of fiber being made. Ripeness measured by Hotteen number. After ripening the ripen viscose is filtered and degassing is done to remove air bubbles

Spinning of the Viscose

Spinning of viscose is done by wet spinning by passing through spinerrate in acid bath resulting in formation of rayon filament.

Spinning Bath

Sulfuric acid               10 parts

Sodium sulfate           18 parts

Glucose                      2 parts

Zinc sulfate                 1 part

Water                          69 part

Sodium sulfate precipitates sodium cellulose xanthate into filament form and acid converts it into cellulose. Zinc sulfate gives added strength. Further processing involves washing desulphurising, bleaching conditioning and drying

Drawing          and

cutting

Drawing is the process of stretching the rayon filament which straighten out the fibres. The continuous yarn is cut into for producing staple fibres.

Crimping

The staple fibre is made like wool by crimper. Sarille is crimped viscose staple having wool like fabrics

Dyeing of Viscose rayon

Viscose rayon has high affinity dye and can be dye easly with cotton dyes.

Reactions : 
 
Cellulosic Fibres | Chemical Technology - Chemical Engineering
 

Cellulosic Fibres | Chemical Technology - Chemical Engineering  

Cellulosic Fibres | Chemical Technology - Chemical Engineering

Cellulosic Fibres | Chemical Technology - Chemical Engineering

Figure M-VIII 8.1: Process flow diagram for Viscose Rayon Manufacture 

Variables in Spinning:

  • Temperature and composition of bath.
  • Speed of coagulation
  • Length of immersion
  • Speed of spinning
  • Stretch imparted 

Poly Sonic FIbres(VINCEL, ZANTREL): Polysonic fibres are new kind of viscose rayon  and have uniformity, length luster and microfibrillar structure. During the process steps are taken to maintain higher degree of polymerization by reducing the severity of chemical processing. During the initial stage cellulose  sheets bathed in weaker caustic soda. Higher degree  of polymeristion ( around 500-700 against viscose rayon around 250) is achieved by precipitating the viscose gently and slowly. The fibre is much like cotton 

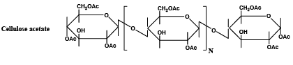
Acetate Rayon 

The purified cotton linters or cellulose is fed to the acetylator containing acetic anhydride and acetic acid and conc. Sulphuric acid and acelylation is carried out at 25-30oC. The reaction mixture called acid dope is allowed for ripening for about 10-20 hrs. During reopening conversion of acetate groups takes place. After reopening, the mixture is diluted with water with continuous stirring. During the process flakes acetate rayon is precipitated which is dried and send to spinning bath where dry spinning of acetate rayon takes place by dissolving in solvent and passing trough spinnerated. The solvent is evaporates by hot air. The dope coming from the spinnerate is passed downwards to feed roller and finally to bobbin where spinning is done at higher speed.

Raw Material 

Purified cotton linters, wood pulp, acetic anhydride, acetic acid and sulfuric acid. 

Process Steps 

Activation with Acetic Acid: The process involves steeping of purified cotton in acetic acid which makes. Swelling and makes cellulose more reactive  

Acetylation: The pretreated cotton with acetic acid is then acetylated with excess acetic acid, acetic anhydride, with sulphuric acid to promote the reaction.

  • One part of purified cellulose
  • Three part of acetic anhydride
  • Five parts of acetic acid
  • Sulfuric acid 0.1 part (as catalyst)
  • Reaction exothermic
  • Temperature 20 oC for the first hour
  • 25-30oC for the next 7-8 h

Hydrolysis of Triacetate: The triacetate formed is hydrolysed to convert triacetate to diacetate. The resultant mixture is poured in water to precipitate the cellulose acetate DP 350-400 

2.35 – 2.4 acetyl groups per anhydro glucose unit.

Spinning: Secondary acetate is dissolved in acetone, fitered, dearerated and passed through spinerrate in hot air environment, which evaporates the solvent.

Economical Production

  • Low cost and availability of acetic acid and acetic anhydride
  • Recovery of acetic acid
  • Recovery of acetone

Process flow diagram for the manufacture of acetate Rayon is given in Figure M-VIII 8.2

Properties: Tenacity 1.4 g/denser, M.P. 230oC and decompose when melted, readily soluble in acetone, methyl ethyl ketone, methyl acetate, ethyl acetone, chloroform, ethylene chloride. 

Cellulosic Fibres | Chemical Technology - Chemical Engineering

                    Cellulosic Fibres | Chemical Technology - Chemical Engineering

Cellulosic Fibres | Chemical Technology - Chemical Engineering

Cellulosic Fibres | Chemical Technology - Chemical Engineering

Figure M-VIII 8.2: Process flow diagram for the manufacture of Acetate rayon 

Cupraammonium Rayon: Cupraammonium rayon is made from reaction of Cellulose with copper salt and ammonia. After bleaching celullose is added in ammonical solution of copper sulphate resulting in formation of cuprammonium cellulose which is spun into water and the yarn is washed with acid to remove traces of ammonia and dried. Process flow diagram for the manufacture of cuprammoium rayon is given in Figure M-VIII 8.3. 

Cellulosic Fibres | Chemical Technology - Chemical Engineering

Figure M-VIII 8.3: Process flow diagram for the manufacture of 

The document Cellulosic Fibres | Chemical Technology - Chemical Engineering is a part of the Chemical Engineering Course Chemical Technology.
All you need of Chemical Engineering at this link: Chemical Engineering
69 videos|121 docs

FAQs on Cellulosic Fibres - Chemical Technology - Chemical Engineering

1. What are cellulosic fibers and how are they produced?
Ans. Cellulosic fibers are natural fibers made from cellulose, a complex carbohydrate found in the cell walls of plants. They are produced through a process called viscose or rayon production. In this process, cellulose is extracted from wood pulp, usually obtained from trees such as eucalyptus or bamboo. The extracted cellulose is then dissolved in a chemical solution and extruded through spinnerets to form fibers. These fibers are then chemically treated and processed to enhance their strength and other desired properties.
2. What are the advantages of using cellulosic fibers in the textile industry?
Ans. Cellulosic fibers offer several advantages in the textile industry. Firstly, they are renewable and sustainable as they are derived from plant sources. Secondly, they have excellent moisture absorption properties, making them comfortable to wear in hot and humid conditions. They also have good breathability, allowing air circulation through the fabric. Additionally, cellulosic fibers can be easily blended with other fibers to create innovative textile materials with unique characteristics. Lastly, they are biodegradable, reducing the environmental impact compared to synthetic fibers.
3. Are cellulosic fibers eco-friendly?
Ans. Cellulosic fibers are considered relatively eco-friendly compared to synthetic fibers. They are derived from renewable resources, such as trees or agricultural waste, and can be produced using environmentally responsible processes. However, the production of cellulosic fibers does involve the use of chemicals and energy, which can have environmental implications if not properly managed. It is important for manufacturers to adopt sustainable practices, ensure proper waste treatment, and minimize the use of harmful chemicals in order to maintain the eco-friendly nature of cellulosic fibers.
4. Can cellulosic fibers be recycled?
Ans. Yes, cellulosic fibers can be recycled. Recycling of cellulosic fibers involves breaking down the fibers into their basic cellulose components, which can then be used to produce new fibers or other cellulose-based materials. However, the recycling process for cellulosic fibers is more complex compared to synthetic fibers, as it requires specialized facilities and technologies. Currently, the recycling infrastructure for cellulosic fibers is not as well-established as that for synthetic fibers, but efforts are being made to improve the recycling capabilities for a more sustainable textile industry.
5. Are cellulosic fibers suitable for all types of textile applications?
Ans. Cellulosic fibers are versatile and can be used in a wide range of textile applications. They are commonly used in the production of clothing, home textiles, and nonwoven materials. However, some factors need to be considered for specific applications. For example, cellulosic fibers have inherent moisture absorption properties, which make them ideal for absorbent textiles like towels and diapers. On the other hand, their low resilience and susceptibility to wrinkling may make them less suitable for applications requiring crease resistance or shape retention. It is important to carefully consider the specific requirements of each textile application before choosing cellulosic fibers.
Related Searches

study material

,

Semester Notes

,

video lectures

,

MCQs

,

past year papers

,

Objective type Questions

,

Important questions

,

shortcuts and tricks

,

Cellulosic Fibres | Chemical Technology - Chemical Engineering

,

pdf

,

Sample Paper

,

Cellulosic Fibres | Chemical Technology - Chemical Engineering

,

Free

,

Cellulosic Fibres | Chemical Technology - Chemical Engineering

,

Exam

,

Previous Year Questions with Solutions

,

Viva Questions

,

mock tests for examination

,

practice quizzes

,

Summary

,

Extra Questions

,

ppt

;