Gear Trains | Mechanical Engineering SSC JE (Technical) PDF Download

GEAR TRAINS

A Gear Train is a combination of gears used to transmit motion from one shaft to another. It is required to obtain large speed reduction within a small space.

TYPE OF GEAR TRAIN
(i) Simple gear train: In this each shaft support one gear.
(ii) Compound gear train: In this each shaft support two gear wheels except first and last.
(iii) Reverted gear train: In this driving and the driven gear coaxial or coincident.
(iv) Planetary and epicyclic gear train

 It is also possible that in a gear train, the axes of some of the wheels are not fixed but rotate around the axes of other wheels with which they mesh. Such trains are known as planetary or epicyclic gear trains. Epicyclic gear trains are useful to transmit very high velocity ratios with gear of smaller sizes in a lesser space.

SIMPLE GEAR TRAIN

  • A series of gears, capable of receiving and transmitting motion from one gear to another is called a simple gear train. In it, all the gear axes remain fixed relative to the frame and each gear is on a separate shaft.

Gear Trains | Mechanical Engineering SSC JE (Technical)

  • A pair of mated external gear always move in opposite direction.
  • All odd numbered gears move in one direction and all even numbered gears in the opposite direction.
  • A simple gear train can also have bevel gears.

Gear Trains | Mechanical Engineering SSC JE (Technical)
Gear Trains | Mechanical Engineering SSC JE (Technical)
Train value =Gear Trains | Mechanical Engineering SSC JE (Technical)
Gear Trains | Mechanical Engineering SSC JE (Technical)
Speed Ratio =Gear Trains | Mechanical Engineering SSC JE (Technical)
Gear Trains | Mechanical Engineering SSC JE (Technical)

  •  Intermediate gears have no effect on the speed ratio and therefore, they are known as idlers.

COMPOUND GEAR TRAIN

  • When a series of gears are connected in such a way that two or more gears rotate about an axis with the same angular velocity; it is known as compound gear train.

Gear Trains | Mechanical Engineering SSC JE (Technical)
Gear Trains | Mechanical Engineering SSC JE (Technical)
Train Value
Gear Trains | Mechanical Engineering SSC JE (Technical)Gear Trains | Mechanical Engineering SSC JE (Technical)
Speed Ratio
Gear Trains | Mechanical Engineering SSC JE (Technical)
REVERTED GEARTRAIN

  •  If the axis of the first and last wheel of a compound gear coincide it is called reverted gear train.
  •  Such arrangement is used in clock and in simple lathe where 'back gear' is used to give slow speed to the chuck.

Gear Trains | Mechanical Engineering SSC JE (Technical)

  •  Train value =Gear Trains | Mechanical Engineering SSC JE (Technical)
    If r is the pitch circle radius of a gear,
    r1 + r2 = r3 + r4

EPICYCLIC GEAR TRAIN  

  • When there exists a relative motion of axes in a gear train, it is called an epicyclic gear train. Thus in an epicyclic train, the axis of at least one of the gears also move relative to the frame.
  • Large speed reductions are possible with epicyclic gears and if the fixed wheel is annular a more compact unit could be obtained.
  • Important applications of epicyclic gears are in transmission, computing devices.
  • In general gear trains have two degrees of freedom.

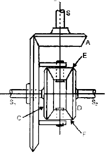
DIFFERENTIAL GEAR

  • When a vehicles takes a turn, the outer wheels must travel farther than the inner wheels. Since, Both rear wheels are driven by the engine through gearing. Therefore some sort of automatic device is necessary so that the two rear wheels are driven at slightly different speeds. This is accomplished by fitting differential gear on the rear axle.

Gear Trains | Mechanical Engineering SSC JE (Technical)

  • An epicyclic gear having two degrees of freedom has been utilized in the differential gear of an automobile. It permits the two wheels to rotate at the same speed when driving straight while allowing the wheels to rotate at different speeds when taking a turn. Thus, a differential gear is a device which adds or subtracts angular displacement.
The document Gear Trains | Mechanical Engineering SSC JE (Technical) is a part of the Mechanical Engineering Course Mechanical Engineering SSC JE (Technical).
All you need of Mechanical Engineering at this link: Mechanical Engineering
5 videos|103 docs|59 tests

FAQs on Gear Trains - Mechanical Engineering SSC JE (Technical)

1. What is a gear train and how does it work?
Ans. A gear train is a mechanical system consisting of multiple gears that are connected and work together to transmit power and motion from one shaft to another. It consists of a driver gear that receives power and transfers it to the driven gear. The gears mesh with each other, and the rotation of the driver gear causes the driven gear to rotate in the opposite direction, at a different speed or torque.
2. What are the different types of gear trains?
Ans. There are several types of gear trains, including: - Simple gear train: Consists of multiple gears connected in series, with each gear having only one driver and one driven gear. - Compound gear train: Consists of two or more gears on each shaft, allowing multiple gears to be driven by a single driver gear. - Epicyclic gear train: Also known as a planetary gear train, it consists of a central sun gear, planetary gears, and an outer ring gear. The motion and speed ratios can be varied by fixing different gears as the driver or driven gear. - Reverted gear train: Consists of two simple gear trains connected in such a way that the driven gear of the first train becomes the driver gear of the second train, and vice versa. - Rack and pinion gear train: Uses a linear gear called a rack and a gear with teeth called a pinion. It is used to convert rotational motion into linear motion or vice versa.
3. What are the advantages of using gear trains in mechanical systems?
Ans. Gear trains offer several advantages in mechanical systems, including: - Power transmission: Gear trains can transmit power from one shaft to another efficiently, allowing for the transfer of torque and rotational motion. - Speed and torque conversion: By using gears of different sizes and ratios, gear trains can convert the speed and torque of the input motion to the desired output motion. - Direction control: Gear trains can change the direction of rotation of the output shaft relative to the input shaft. - Compactness: Gear trains can be designed to occupy less space and provide a compact solution for transmitting power and motion. - Noise reduction: Properly designed and lubricated gear trains can operate quietly, reducing noise in mechanical systems.
4. How can gear trains be used in different applications?
Ans. Gear trains have a wide range of applications in various industries, including: - Automotive industry: Gear trains are used in transmissions, differential systems, and drivetrains to transmit power and control the speed and torque of the wheels. - Industrial machinery: Gear trains are used in machines such as conveyor systems, robots, and manufacturing equipment to transmit power and control motion. - Aerospace industry: Gear trains are used in aircraft engines, landing gear systems, and control systems to transmit power and control different parts of the aircraft. - Wind turbines: Gear trains are used in wind turbine generators to convert the low rotational speed of the turbine blades to a higher speed required for electricity generation. - Clocks and watches: Gear trains are used in mechanical clocks and watches to control the movement of the hands and keep accurate time.
5. What are some common issues or challenges faced with gear trains?
Ans. Some common issues or challenges faced with gear trains include: - Gear wear and failure: Due to continuous contact and meshing, gears can experience wear and tear over time, leading to decreased efficiency and potential failure. - Lubrication and maintenance: Proper lubrication is essential to reduce friction and wear in gear trains. Regular maintenance, including inspection and lubricant replacement, is necessary to ensure optimal performance and longevity. - Backlash: Backlash refers to the slight movement or play between gears due to clearance between the teeth. Excessive backlash can result in reduced accuracy and precision in gear trains. - Noise and vibration: Improper gear design or wear can cause noise and vibration in gear trains, affecting the overall performance and efficiency of the mechanical system. - Misalignment: Misalignment of gears can lead to uneven load distribution, increased wear, and decreased efficiency. Proper alignment during installation and regular checks are important to maintain optimal gear train performance.
Related Searches

shortcuts and tricks

,

practice quizzes

,

pdf

,

Gear Trains | Mechanical Engineering SSC JE (Technical)

,

Gear Trains | Mechanical Engineering SSC JE (Technical)

,

Gear Trains | Mechanical Engineering SSC JE (Technical)

,

Summary

,

past year papers

,

Sample Paper

,

Viva Questions

,

study material

,

mock tests for examination

,

Important questions

,

Extra Questions

,

Semester Notes

,

Objective type Questions

,

ppt

,

video lectures

,

Exam

,

Previous Year Questions with Solutions

,

Free

,

MCQs

;