Metrology is the science of measurement. It covers the design, manufacture, selection and application of measuring instruments and techniques used to control the dimensions of manufactured components. Good metrology ensures accurate dimensional control, traceability and interchangeability of parts produced in quantity.
Interchangeability is the principle used in mass production to make large numbers of identical parts so that any part will fit and function with any mating part within specified limits. Interchangeability reduces assembly time, repair time and inventory complexity.
The limit system defines the permissible maximum and minimum sizes of a feature. The main terms used are listed and explained below.
Unilateral limits
Variation in size is permitted in only one direction from the basic size; the tolerance zone lies entirely on one side of the basic size.

Bilateral limits
Variation in size is permitted on both sides of the basic size; the tolerance zone straddles the basic size.

A fit describes the relationship between mating parts (a hole and a shaft) and specifies whether clearance or interference occurs on assembly. The degree of fit determines assembly method and function.




Standard tolerances for various tolerance grades are given by Indian Standards. The magnitudes of standard tolerances corresponding to grades IT01, IT0 and IT1 are provided by empirical formulae (D in mm):
IT01 = 0.3 + 0.008D
IT0 = 0.5 + 0.012D
IT1 = 0.8 + 0.020D
The fundamental tolerance unit i and tables of limits for different nominal size ranges are given in the standard reference tables.

The value of D used in these expressions is the size or geometric mean diameter in mm. The two limits for calculating D are taken from the relevant standard tables for the size range.


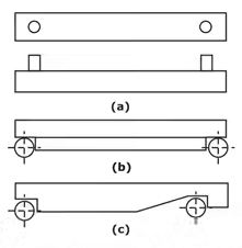
Limit gauges are scaleless inspection tools used to verify whether a manufactured part lies within its specified limits. They are simple, rapid and suitable for production inspection where binary (go / no-go) decision is required.
Main forms of limit gauges:




Unilateral system

Bilateral system
In the bilateral system the GO and NO GO gauge tolerance zones are bisected by the upper and lower limits of the work tolerance zone.

Common instruments for linear measurements (from shop floor to laboratory) include:
Angular measurement is required for tapers, setting angles and assessing angular features. Common tools include the bevel protractor and sine bar.

Now, if θ is the angle subtended by the lower face of the sine bar with the datum surface (top of the surface plate), and the sine bar is supported on gauging slips of total height h, then the relationship between the angle and the slip-gauge height is derived as follows.
Use of sine barDistance between the centres = L.
Using geometry of the sine bar:
h = L × sinθ
Therefore, sinθ = h ÷ L
For a required angle θ prepare slip gauge height h = L × sinθ using appropriate combination of gauge blocks.

Measurement-over-wires is a technique used to measure the pitch diameter of external cylindrical features such as threads or gear teeth by placing wires of known diameter across the feature and measuring the distance over them.
In the figure the pitch diameter is related to the measured quantity by the relation:
Pitch diameter, DP = M + P
Thread measuring using micrometerExact expressions and the geometry depend on the feature profile and wire placement; consult the figure for definitions of symbols M and P used in that illustration.
The three-wire method is commonly used to measure the pitch diameter of external screw threads accurately. Three wires are placed in the thread grooves and the distance over the wires is measured with a micrometre. A correction factor depending on wire diameter and thread geometry is applied to obtain the pitch diameter.

The best wire diameter for a given thread is selected to minimise the error; the selection rules and formulae are shown in the referenced figure.

An optical flat is a high-quality transparent disk with an accurately flat lower surface used as a comparator. When placed on a surface and illuminated, interference fringes form; the fringe pattern reveals departures from flatness. Optical flats are also used with master references to calibrate gauge-block stacks.
To determine the difference Δh between heights using an optical flat and reference, similar triangles from the fringe geometry give the relation (refer to the figure for geometry and symbol definitions):

Therefore:
∆h = (n λ / 2) × (G / L)
where
n = number of interference fringes
λ = wavelength of light
G = fringe spacing
L = reference length
h = λ/2 = height corresponding to one fringe
Use the figure to identify each symbol and apply the formula accordingly.
The actual surface obtained after machining shows microscopic deviations - a series of peaks and valleys - even when it appears smooth to the eye. The surface texture has three principal components: roughness (small, closely spaced deviations), waviness (larger, spaced deviations), and form error (larger scale departures from intended geometry).
Lay is the predominant direction of the surface pattern produced by a manufacturing process (for example, circumferential lay on a turned surface or cross lay on a milled surface). The common lay types are shown in the figure.

Common parameters used to quantify surface roughness include the arithmetic mean roughness RA, the root-mean-square roughness Rrms, and the peak-to-valley height RT (also Rmax).
Arithmetic average (Center Line Average) RA
Surface roughness parametersRoot mean square value Rrms
The root-mean-square value of the surface deviation is sometimes used instead of the arithmetic average. The expression is shown in the figure.

RT is the difference between the highest peak and the deepest valley within the evaluation length.
An approximate relationship between RA and maximum peak height Hamx for certain tool-generated profiles is:
RA ≈ Hmax ÷ 4
Maximum height of unevenness for a cutting tool with nose radius R and feed f may be approximated by:
Hmax = f² ÷ (8R)
If the complete tool signature is given, the peak-to-valley height can be calculated from the tool geometry and cutting parameters; the relevant expression and diagram are shown in the figure.

Where:
Summary
This chapter presents the fundamental concepts used in dimensional control: interchangeability, limit and deviation systems, fits, standard tolerance grades, limit gauges and common measurement techniques including sine-bar and three-wire methods. It also covers surface texture, its measurement and practical formulas linking machining parameters to surface roughness. Use the figures and standard tables shown throughout to apply the formulae and to select fits, tolerances and gauges for design and inspection tasks.
| 1. What is metrology and why is it important in mechanical engineering? | ![]() |
| 2. What are limits, fits, and tolerance in mechanical engineering? | ![]() |
| 3. How are limits and fits classified in mechanical engineering? | ![]() |
| 4. What are the common measurement techniques used in metrology and inspection? | ![]() |
| 5. What are the challenges in metrology and inspection in mechanical engineering? | ![]() |