Objective
To verify the algebraic identity a
2 - b
2 = (a + b) (a - b).
Materials Required
- Drawing sheet
- Pencil
- Colored papers
- Scissors
- Sketch pen
- Ruler
- Adhesive
Prerequisite Knowledge
- Square and its area.
- Rectangle and its area.
- Trapezium.
Theory
- For square and its area refer to Activity 3.
- For rectangle and its area refer to Activity 3.
- Trapezium is a quadrilateral whose two sides are parallel and two sides are non-parallel. In the trapezium ABCD, sides AB and CD are parallel while sides AD and BC are non-parallel.

- Area of trapezium = ½ (Sum of parallel sides x Distance between parallel sides)
= ½ (AB + CD) x DE
Procedure
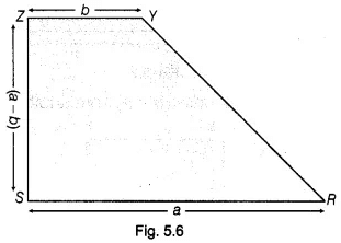
- Cut out a square WQRS of side a units from a coloured paper, (see Fig. 5.2)

- Cut out a square WXYZ of side b units (b < a) from another coloured paper, (see Fig. 5.3)

- Paste the smaller square WXYZ on the bigger square WQRS as shown in Fig. 5.4.

- Join the points Y and R using sketch pen. (see Fig. 5.4)
- Cut out the trapeziums XQRY and ZYRS from WQRS (see Fig. 5.5 and 5.6).


- Paste both trapeziums obtained in step 5th on the drawing sheet as shown in Fig. 5.7

Demonstration
From Fig. 5.2 and Fig. 5.3, we have Area of square WQRS = a2
Area of square WXYZ = b2 Now, from Fig. 5.4, we have
Area of square WQRS - Area of square WXYZ = Area of trapezium XQRY + Area of trapezium ZYRS
= Area of rectangle XQZS [from Fig. 5.7]
= XS . SZ [∴ Area of rectangle = Length x Breadth]
So, a2 - b2 = (a + b) (a - b)
Here, area is in square units.
Observation
On actual measurement, we get
a =........ , b = ........ ,
So, a2 =........ ,
b2 = ........ ,
a + b = ........ ,
a - b = ........ ,
a2 -b2 = ........ ,
and (a + b)(a - b) = ........ ,
Flence, a2 - b2 = (a + b) (a - b)
Result
The algebraic identity a2 - b2 = (a + b) (a - b) has been verified.
Application
The identity (a2 - b2) = (a + b)(a - b) can be used for
- calculating the difference of squares of two numbers.
- getting some products involving two numbers.
- simplification and factorization of algebraic expressions.