Riveted Joints, Strength of Materials | Strength of Material Notes - Agricultural Engg - Agricultural Engineering PDF Download

Connections are the most important part of a structure. In this module we will learn analysis and design of two different types of connection commonly used in practical structures; (i) Riveted connection; and (ii) Welded connection.
In this lesson we will discuss different kinds of riveted joints and their failure mechanisms. Design of riveted connection will be discussed in the next lesson.

25.1 Types of Riveted Joints
Riveted joints are mainly of two types,

25.1.1 Lap joints
In lap joints two members which are to be connected are overlapped and rivets are inserted in the overlapping portion. Different types of riveted lap joints are illustrated in Figure 25.1.
Riveted Joints, Strength of Materials | Strength of Material Notes - Agricultural Engg - Agricultural Engineering

Fig. 25.1.

25.1.2 Butt joints
In butt joints, the members to be connected are placed against each other without forming any overlap and then connected together through one or more additional cover plates. When the cover plate is provided on one side of the joint it is called single cover butt joint and when provided on both sides of the joint, it is called double cover butt joint. Different types of riveted butt joints are illustrated in Figure 25.2.
Riveted Joints, Strength of Materials | Strength of Material Notes - Agricultural Engg - Agricultural Engineering

Fig. 25.2.


The distance between the centers of two adjacent rivets in a row is called pitch (p).

25.2 Failure Mechanism
A riveted joint is said to be failed when either of the rivets or the connected plates fail. Therefore strength of a riveted joint is determined by taking into account of all possible failure mechanisms. The possible failure mechanisms are illustrated below,

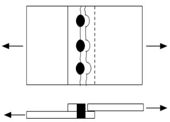
25.2.1 Tearing of plate
Due to the presence of holes the effective width of the plate decreases and consequently the tensile stress increases. If the induced tensile stress in the plate is more than the allowable value the plate fails in tension as shown in Figure 25.3.

Riveted Joints, Strength of Materials | Strength of Material Notes - Agricultural Engg - Agricultural Engineering

Fig. 25.3.

25.2.2 Tearing of plate at the edge
If the row of rivets is very close the edge of the plate then the plate may fail as shown in Figure 25.4.

Riveted Joints, Strength of Materials | Strength of Material Notes - Agricultural Engg - Agricultural EngineeringFig. 25.4.

In order to prevent such failure a minimum distance (usually 1.5 times the diameter of the hole) of the row of rivets from the edge of the plate is maintained.

25.2.3 Shearing of rivet
The rivet may fail in shear as shown in Figure 25.5.
Riveted Joints, Strength of Materials | Strength of Material Notes - Agricultural Engg - Agricultural Engineering

Fig. 25.5.

25.2.4 Bearing of rivet
If the stress at the contact surface between the rivet and the plate reaches the allowable bearing stress the rivet may fail in bearing as depicted inFigure 25.6.
Riveted Joints, Strength of Materials | Strength of Material Notes - Agricultural Engg - Agricultural Engineering

Fig. 25.6.

25.2.5 Failure mechanism in multiple riveted joints
In a multiple riveted joints, an individual row may fail in any mechanism as mentioned above. However failure of one row may not necessarily lead to complete joint failure. For instance, in the double riveted joint as shown in Figure 25.7, tearing of plate first occurs at row 1.  However the joint as whole may not fail as the plates are still connected through the rivets at row 2. In order to have a complete failure, row 2 has to fail either by shear or by crushing and therefore strength of both the rows must be considered in determination of strength of joint. On the other hand if tearing of plate occurs as illustrated in Figure 25.8, the joint completely fails irrespective of row 1. In this case the strength of the joint will govern only by the strength of row 2.
Riveted Joints, Strength of Materials | Strength of Material Notes - Agricultural Engg - Agricultural Engineering

 Fig. 25.7.

Riveted Joints, Strength of Materials | Strength of Material Notes - Agricultural Engg - Agricultural Engineering

Fig. 25.8.


While determining the strength of a riveted joint (single or multiple) failure in all possible combination has to be considered.

The document Riveted Joints, Strength of Materials | Strength of Material Notes - Agricultural Engg - Agricultural Engineering is a part of the Agricultural Engineering Course Strength of Material Notes - Agricultural Engg.
All you need of Agricultural Engineering at this link: Agricultural Engineering
34 docs

FAQs on Riveted Joints, Strength of Materials - Strength of Material Notes - Agricultural Engg - Agricultural Engineering

1. What is a riveted joint?
Ans. A riveted joint is a type of mechanical joint used to connect two or more components together using rivets. Rivets are cylindrical fasteners that are inserted through holes in the components and then deformed to create a permanent connection. Riveted joints are commonly used in structural applications where high strength and reliability are required.
2. How does a riveted joint work?
Ans. In a riveted joint, the rivet is inserted through the aligned holes in the components to be joined. The rivet is then heated and hammered, causing it to deform and expand, creating a "head" on one end. The head of the rivet prevents it from passing through the hole, creating a secure connection. The opposite end of the rivet is usually left protruding and can be further hammered to form a second head, known as the "shop head." This process creates a strong and permanent joint.
3. What are the advantages of using riveted joints in agricultural engineering?
Ans. Riveted joints offer several advantages in agricultural engineering applications. Firstly, they provide high strength and reliability, ensuring that the connected components remain securely in place even under heavy loads or vibrations. Secondly, riveted joints are resistant to corrosion and weathering, making them suitable for outdoor and agricultural environments. Additionally, riveted joints are relatively easy and cost-effective to install, maintain, and repair.
4. What are the limitations of riveted joints in agricultural engineering?
Ans. While riveted joints have many advantages, they also have some limitations in agricultural engineering applications. One limitation is the need for skilled labor and specialized equipment to install and repair riveted joints. This can increase the overall cost and time required for construction or maintenance projects. Additionally, riveted joints are not easily disassembled, making it more challenging to replace or modify components within the joint. Lastly, riveted joints have a higher weight compared to other joining methods, which may not be ideal for certain agricultural machinery or structures.
5. How can the strength of a riveted joint be determined in agricultural engineering?
Ans. The strength of a riveted joint in agricultural engineering can be determined through various methods. One common approach is to calculate the load-carrying capacity of the joint by considering factors such as the material properties of the components, the number and size of the rivets, and the type of loading (tension, shear, or bending). Additionally, physical testing can be conducted by subjecting the joint to controlled loads until failure occurs. These tests can help validate the theoretical calculations and provide valuable data for design and safety considerations.
Related Searches

past year papers

,

Important questions

,

video lectures

,

shortcuts and tricks

,

Riveted Joints

,

Summary

,

Strength of Materials | Strength of Material Notes - Agricultural Engg - Agricultural Engineering

,

Objective type Questions

,

Semester Notes

,

Viva Questions

,

Free

,

ppt

,

practice quizzes

,

study material

,

pdf

,

Sample Paper

,

Previous Year Questions with Solutions

,

mock tests for examination

,

Extra Questions

,

Exam

,

Strength of Materials | Strength of Material Notes - Agricultural Engg - Agricultural Engineering

,

MCQs

,

Riveted Joints

,

Strength of Materials | Strength of Material Notes - Agricultural Engg - Agricultural Engineering

,

Riveted Joints

;